
최근 애플이 맥북으로 아이폰과 아이패드, 애플워치를 무선충전해주는 특허, 무선충전패드로 활용하는 기술을 특허청에 신청했습니다. 추가적으로 아이패드를 또한 무선충전패드화시켜서 아이폰이나 애플워치를 충전하는 등
넓은 면적에 모두 무선충전 코일을 넣어 무선충전이 가능하도록 만드는 기술입니다.
사실 삼성 갤럭시북 플렉스나 갤럭시북 이온에서 트랙패드에 무선충전 코일을 넣어 무선충전 패드로 활용하는건 이미 상용화 된 기술이지만.... 애플이라서 좀 다를수도....? 한번 살펴보겠습니다.

앞서 말씀드린대로 애플이 맥북 위에서 아이폰이나 아이패드, 애플워치를 무선 충전할 수 있는 기술을 특허신청한 부분입니다. 흔히들 알려진 역방향 무선 충전 또는 무선 배터리 공유 기술이라고 알려져있죠.

과거 애플을 에어파워를 실패한 전적이 있습니다.
에어파워가 뭐냐? 여러개의 무선충전 코일을 도입해 고속 무선충전을 여러개의 기기에서 동시적용시키는 제품이죠.
발열을 못잡아서 결국 연구종료시켰다고 기사가 발표된바 있는데
연구당시 아예 건진게 없진 않나봅니다.

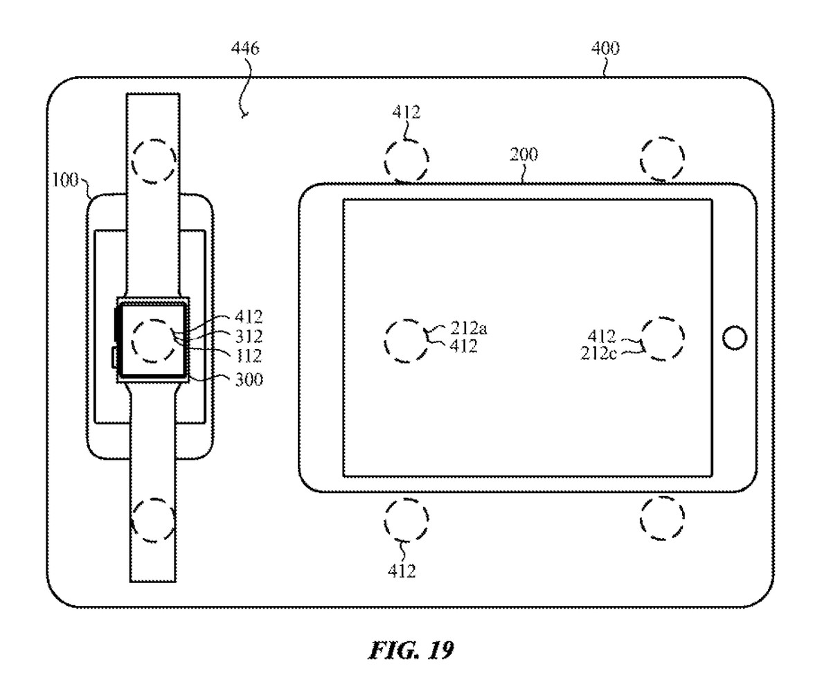
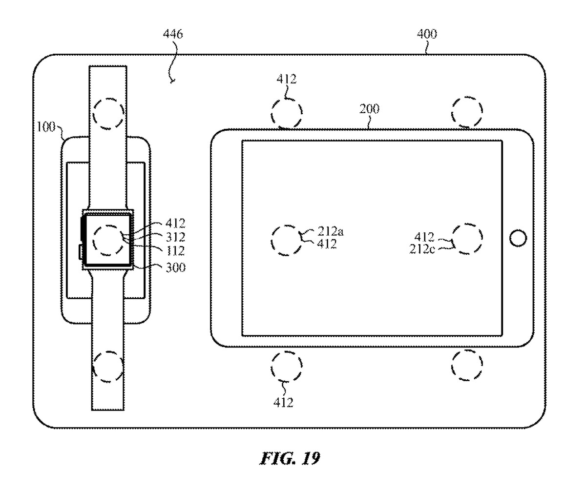
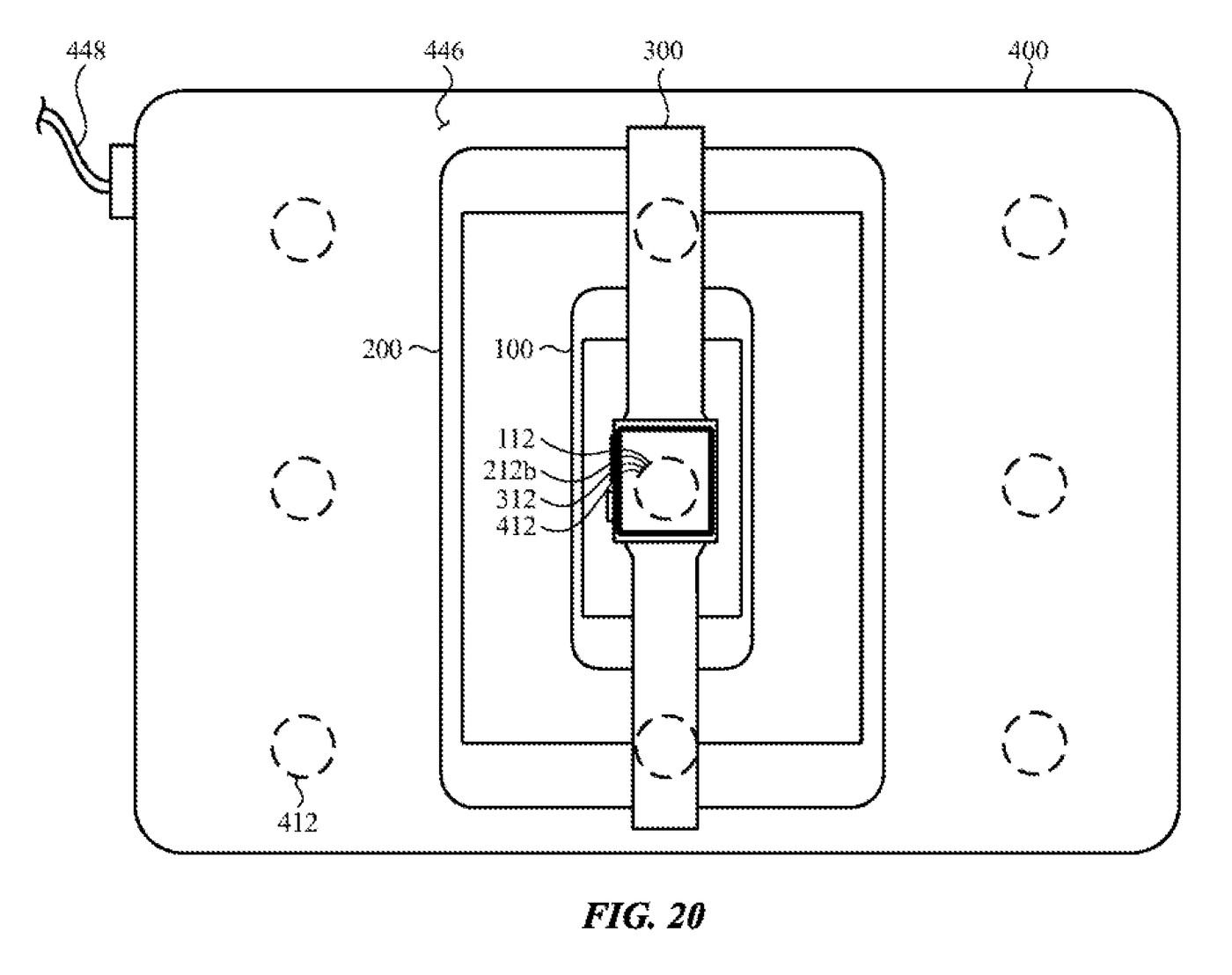
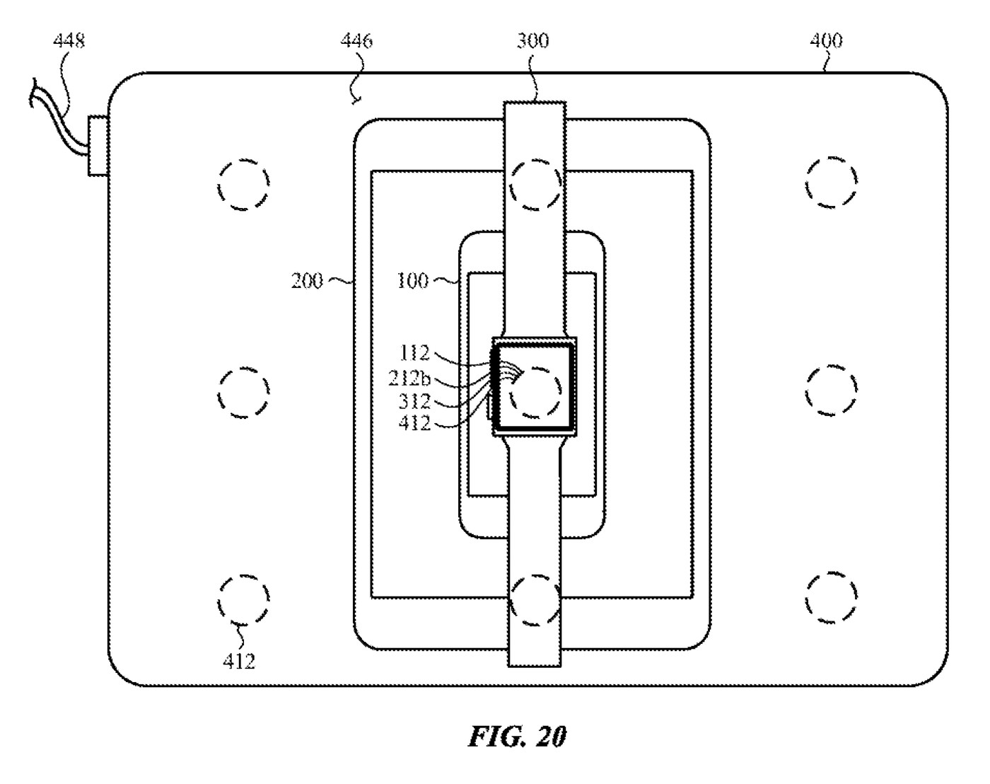
도면에서 확인할 수 있듯 맥북 위에 아이폰이나 애플워치, 아이패드 등을 올려서 각각 동시에 무선충전을 진행할 수 있는 기술입니다.
내용을 살펴보면 맥북에서 아이패드로, 아이패드에서 아이폰으로 아이폰에서 애플워치로 충전이 이어지는 무선배터리 공유기술을 적용했습니다.

아이폰12가 자석형 무선충전 기술인 맥세이프를 적용시키면서 추후 출시될 맥북프로 2021, 맥북프로 2022 같은 맥북프로 시리즈나 맥북에어, 아이패드프로, 애플워치, 아이폰13 등 아이폰 시리즈, 에어팟 시리즈 등 애플 기기간의 무선배터리 공유는 더더욱 현실적으로 다가오는듯합니다.

신선한 점은 아이패드에도 무선충전코일을 적용시켜 아이패드에서 아이폰과 애플워치 등 무선 배터리공유할 수 있단 점인데. 여기서 발열을 잡고 배터리 광탈을 케어할 수 있단 말인가? 싶으면서도 애플의 기술력이 생각보다 더 높구나...?
갬성만 가진 회사가 아닌가? 싶기도 합니다.

애플이 얼마전 애플카를 제작, 출시할 예정이라 발표하면서 애플카에 들어가는 모든 배터리는 애플 자체 기술이 적용될 예정이라 밝혔는데. 전기차에서 배터리의 발열이나 효율 등이 가장 중추적인 요소 중 하나인데. 그중에서 충전도 엄청난 중요 비율을 차지하고 있죠.
루머로 이런 충전 코일 기술을 더욱 심화시켜 추후에는 전기차에서도 무선충전 기술이 적용될 것이라던데
먼 미래에서 애플의 충전기술이 기대됩니다.

너무먼 미래를 이야기 했나요.
일단 애플카는 너무 먼 미래고.
현재 공개된, 애플이 신청한 맥북과 아이폰, 아이패드, 애플워치 간 무선 배터리 공유기술 특허를 살펴봤습니다.

면적이 넓은 아이패드나 맥북이나 아이폰에 다양한 무선충전 지점을 적용시켜줌으로 특정한 부분에서만 무선충전이 진행되는 것이 아닌 한 제품에서도 다양한 부분에서 충전되는 점은 정말 신선한 애플의 무선충전 기술 특허라 생각됩니다.


하지만 1년전? 2년전? 삼성 갤럭시북 이온이나 삼성 갤럭시북 플렉스 시리즈에서 무선충전 코일을 벌써부터 넣어 이런 기술을 상용화 한건 모두가 아는 사실.
정말 삼성..... 대체 당신은....

이제 곧 맥북이나 아이패드, 아이폰 등에서 서로서로 배터리를 공유하는 기술이 적용된 제품들이 줄지어 출시될 예정이니 애플 제품 구매예정이신 분들은 꼭 염두에 두세요.
사실 이런거 하나하나 기다리면서 미루다보면 아무것도 못사는건 함정....결국 나오는 족족 다 사버리는게 정답
애플 액티브 노이즈 캔슬링 헤드폰 에어팟 맥스 출시
애플이 액티브 노이즈 캔슬링 헤드폰 에어팟 맥스를 출시했습니다. 애플의 에어팟 맥스는 40mm 다이나믹 드라이버를 탑재하고 있으며 최대 음량 상태로도 가청범위에서 총 고주파 왜곡을 1% 미만
2itooit.tistory.com
아이폰11 액정 터치불량 무상 리퍼 진행(기간, 조건 확인)
말많던 아이폰11 터치불량에 대해 드디어 애플이 무상 교환, 무상 리퍼, 무상 수리를 적용한다고 발표했습니다. 사실 역대 아이폰들은 쭉 터치불량에 대한 이슈가 있어 왔습니다. 그리고 대부분
2itooit.tistory.com
현재 속출하는 갤럭시 Z 플립 액정 수리 이슈
현재 갤럭시z플립 액정 이슈가 터져있습니다. 갤럭시z플립이 최근 불법보조금 받으면 최대 15만원까지 떨어지기도 해서 많은 분들이 구매했었는데. 이런 갤럭시z플립 액정 수리 부분이 문제가
2itooit.tistory.com
주식사는법, 우린 왜 주식을 해야하는가
최근들어 주식사는법, 주식시세 분석하는 내용을 다룬 유튜버, BJ, 스트리머 등 정말 많은 사람들이 주식사는법이나 주식시세를 분석하고 투자자들을 가이드하는 내용을 다루고 있다. 주식사는
2itooit.tistory.com
인텔(intel) CPU패왕시절에서 현재 주가바닥까지(인텔11세대?)
이제 컴퓨터 CPU는 딱 2회사로 갈라진다. 인텔 아니면 AMD라이젠. 곧 인텔 11세대가 나올예정인데 AMD 라이젠 4세대(5천번대)는 절대 못이길것으로 많은 전문가들이 예측하고 있고 인텔 12세대 정도
2itooit.tistory.com
에어팟프로 틱틱 잡음 이슈(노이즈캔슬링) 무상 교체
에어팟프로 8월이전 제작 기기에서 지속적인 에어팟프로 틱틱거림, 소음 증폭현상 등 에어팟프로 노이즈캔슬링에 이상 문제 현상이 발생함에 대해 여러분께 소개드리고 해당 에러사항이 다발
2itooit.tistory.com
아이폰12 코팅 벗겨짐 이슈
얼마전 아이폰12, 아이폰12 프로 2가지 사전예약이 여러곳에서 진행되었습니다 쿠팡, 위메프 11번가 등에서 최대 18%까지 카드청구할인 등을 제공함에 따라 아이폰12, 아이폰12 프로 사전예약은 1초
2itooit.tistory.com
사람들이 재미있게 읽은 글
'Stock 경제 이야기' 카테고리의 다른 글
| 나스닥 Gevo 주가 앞으로 하락할 예정 (0) | 2021.02.01 |
|---|---|
| 기아차 카카오모빌리티 계약, 주가 상승 기대 (0) | 2021.01.14 |
| 현대자동차 보스턴다이나믹스 인수(UAM, 현대모비스, 현대글로비스 등) (0) | 2020.12.12 |
| 주식사는법, 우린 왜 주식을 해야하는가 (0) | 2020.11.16 |
| 인텔(intel) CPU패왕시절에서 현재 주가바닥까지(인텔11세대?) (0) | 2020.11.10 |
댓글